
WRNN-436固定法蘭高溫耐磨熱電偶簡介
上海自動化儀表三廠高溫耐磨熱電偶是專為循環硫化床測溫的專用熱電偶,它要求有很高的抗氧化性能及高溫強度,耐震動、耐磨損,有良好的抗熱震性,我廠生產的WRNN-436固定法蘭高溫耐磨熱電偶外套管采用具有自主知識產權的高溫耐磨材料,是由國內知名材料研究所與我廠聯合研制開發,該種材料冶煉、澆鑄工藝獨特,可進行深盲孔加工或深盲孔一次成型。與國內市場同類材料相比具有顯著優勢,在高溫工況條件下,具有相當高的硬度,同時也具有良好的韌性,在保證耐磨損的前提下,抗沖擊性能優異,本產品也可用于磨煤機、水泥熟料等流動粉體的溫度測量。
WRNN-436固定法蘭高溫耐磨熱電偶主要技術參數
◆測量范圍:0-800℃-1000℃
◆分度號:K分度
◆精度等級:±2.5℃或±0.0075|t|
◆熱電偶類別:鎳鉻-鎳硅
◆保護管材質:不銹鋼304,316或其它,耐磨頭采用特殊材料
◆保護管插深:400mm~1000mm,耐磨段長度100mm~300mm
◆熱響應時間:T0.5<120S(在溫度出現階躍變化時,熱電偶的輸出變化至相當于該變化的50%,所需要的時間稱為熱響應時間,用T0.5表示)。
◆熱電偶公稱壓力:2.5MPa(一般是指在室溫情況下保護管所能承受的靜態外壓而不破裂。實際上容許工作壓力不僅與保護管材料、直徑壁厚有關,還與其結構形式,安裝方法,置入深度以及被測介質的流速和種類等有關)。
◆熱電偶絕緣電阻(常溫):常溫絕緣電阻的試驗電壓為直流500V±50V,大氣條件為溫度15~35℃,相對濕度45%,大氣壓力86~106kPa,它的常溫絕緣值應≥100MΩ。
◆執行標準:JB/T9238-1999
耐磨熱電偶工作原理
當有兩種不同的導體,其兩端相互焊接時,兩結點處的溫度不同,一端溫度為測量端或工作端,另一端溫度為自由端或冷端,當兩端溫度存在溫差時,就會在回路時產生熱電流,配上顯示儀表,儀表上就能顯示出熱電偶所產生的熱電動勢的對應溫度值。熱電偶的熱電動勢將隨著測量端或工作端的溫度升高而增長,熱電偶的熱電動勢的大小只和導體材質及兩端溫差有關,和導體的長度、直徑無關。
耐磨熱電偶型號舉例:
WRNN-436表示K分度帶防水接線盒,固定法蘭高溫耐磨熱電偶
WRNN2-436表示K分度帶防水接線盒,固定法蘭高溫雙支耐磨熱電偶
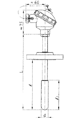
耐磨熱電偶安裝圖片
WRNN-436固定法蘭高溫耐磨熱電偶(法蘭外徑95中心距65,d=22~32)



客服1